le cylindre de révolution; description

 Pré  requis :

Les conversions des unités de  volume et capacité

3D Diamond

Cercle

 

Disques

3D Diamond

 

ENVIRONNEMENT du dossier:

Index «  accueil warmaths »

Objectif précédent :

Objectif suivant Sphère metallique

  1. Les Calculs du volume et des aires  du cylindre.
  2. Les pyramides.

tableau :   Sphère metallique

1°) Liste des cours sur les calculs de volumes 

2°) les solides de révolutions

 

 

 

 

 

 

 

 

 

 

DOSSIER : Calculs aires et volumes du  CYLINDRE de révolution.

 

 

I )  Le   cylindre de révolution : définition.

 

 

 

II ) Calcul de Aire latérale d’un cylindre .

 

 

 

III ) Calcul du  Volume d’un cylindre .

 

 

 

IV )  Activités (exemples de calculs et exercices résolus )

 

 

 

 

 

 V ) Situations problèmes sur le cylindre…….

 

 

 

 

 

 

Et     Calculs

 

TEST

           FilesOfficeverte

COURS

                FilesOfficeverte

Devoir  Contrôle FilesOfficeverte

Devoir évaluation FilesOfficeverte

Interdisciplinarité

                        Filescrosoft Officeverte

 

Corrigé Contrôle  FilesOfficeverte

Corrigé évaluation  FilesOfficeverte

 

 

 

 

 

 

 

 

 

 

 

Liste de fiches sur les volumes en arithmétique.

 

 

 

 

 

 

 

Travaux dossier :179

 

 

 

 

 

 

 

Des situations problèmes (arithmétique)

 

 

 

 

 

 

 

 

 

 

 

mers40013

 

 

 

 

 

 

 

 

COURS

 

 

acylin1

 

 

Informations : 

airvolcylindr

 

 

I )  Le   cylindre de révolution : définition.

 

 

 

                               Le cylindre de révolution est engendré par un rectangle limitée par une ligne L , tournant autour d’un axe xx’ de son plan et ne coupant pas L.

 Le coté autour duquel tourne le rectangle « générateur » est la hauteur.

 

                  Le coté opposé du rectangle est appelé « génératrice ».

 

                  Les deux autres côtés du rectangle sont les rayons du cylindre et ils engendrent les deux cercles qui servent de bases au solide .

rév1

 

 

 

 

 

II )   Calcul de Aire latérale d’un cylindre .

 

 

 

En coupant un cylindre de révolution suivant une génératrice (AA’), on peut appliquer sa surface latérale sur un plan.

Si on développe la surface latérale on obtient un rectangle dont la largeur est égale à la hauteur  du cylindre et dont la longueur est égale à la longueur du cercle de base.

 

 

 

 

 

 

 

 

 

 

 

cylin1

 

 

 

 

 

III )  Calcul du  Volume d’un cylindre :

 

 

 

                       Le volume ( V ) d’un cylindre est égal au produit de l’aire de la base ( disque) multipliée par la hauteur. (précaution importante :prendre les mêmes unités de longueur).

 

Formule :

V = p R 2 H

 

 

 

 

 

 

Le cylindre de révolution peut être considéré comme un prisme droit particulier dans lequel la base est un disque.

 

Il suffit d’imaginer que par approximation ce disque est un polygone régulier ayant une infinité de côtés.

 

Vous concevez alors que la formule donnant le volume du cylindre de révolution soit le même que celle du prisme droit..

 

 

 

 

 

acyl3aircylindr

 

 

 

 

 

calcul_volume021                                     cyl

 

 

 

 

 

 

 

 

A retenir :

 

 

Le volume « V » du prisme droit de hauteur « h » et dont l’aire de la base est « B »

 

 

 

 

 

 

Appelons « R » le rayon du disque de base.

Vous savez que l’aire du disque est égale à «  »

 

 

A retenir :

 

 

Le volume « V » du cylindre de révolution de hauteur « h » et de rayon « R »

 

 

 

 

 

 

Remarque : « V » , « B » , « h » , « R » sont exprimés avec des unités correspondantes.

 

 

Remarque 1 : « V » , « B » , « R »,  et « h » sont exprimés avec des unités correspondantes.

-          Ce qui signifie que si l’unité de « h » est  le « m » , « R » doit être en « m » , l’unité de « B » sera le « m 2 » et l’unité de « V » sera le « m 3 ».

Ce qui signifie que si l’unité de « h » est  le «mm » , « R » doit être exprimé en « mm » , l’unité de « B » sera le «mm 2 » et l’unité de « V » sera le « mm 3 »…et ainsi de suite.

 

 

 

 

 

Activité N°….. Complétez le tableau relatifs à des cylindres ( prendre  = 3,14 )

 

 

 

 

 

 

Rayon

Aire de la base

Hauteur

Volume

 

 

 

5 cm

……78,5…cm²

0,6 m =60 cm

4710…..cm3

 

 

……2…mm

……12,56….mm²

3,5 cm = 35 mm

439,6 mm3

 

 

0,7 dm

……153,86….cm²

0,5 cm = 5….mm

76,93  cm3

 

 

 

 

 

Activité N° …..

 

 

Ci –contre , un tuyau de plomb à « 4 cm » de diamètre extérieur.

 

Il a une épaisseur de « 5 mm » et une longueur de 3 m.

Calculez son volume et sa masse sachant que la masse volumique du plomb est de «  11,3 g / cm3 ».

 calcul_volume022

 

 

Le volume « V » se calcule grâce à la formule «  V =  B x h »

 

·      La base est une couronne de rayon extérieur : R =  40 mm / 2 =   20 mm   et le rayon intérieur « r » :  « 20 – 5 = 15 mm ».

 

·      Aire de la base  ( en mm²) :

 

                  B = ( 3,14 x 20 x 20  ) -  ( 3,14 x 15 x 15 )     ;   B = 1256 -  706,5 ;  B = 549,5 mm²

 

·      Volume du tuyau (mm3 ) : ( V)

     

                         V = 549,5 x 3 000 = 1 648 500   mm3    ; V = 1648,500 cm3 

 

·      Masse du tuyau en « g ».

                           1 648,  500       x  11,3 =  18628,05     ;   masse du tuyau  =  18,62805 kg

 

 

 

 

 

 

Activité N°…..

 

 

 

 

 

Le dessin ci-contre représente une bobine (de cable électrique ).

Elle est constituée par « 3 » cylindres superposés traversés par un « cylindre » creux .

Les dimensions sont en « cm ».

On vous demande de calculer le volume de cette bobine ( : quantité de matière qui constitue cette bobine ).

 

Volume du cylindre du dessus en « cm 3 ».

 3,14 x …30 ..² x …5 ….= …14 130….

 

Volume du cylindre central en «  cm3 » :

3,14 x …10 .² x …40 …..= …12 560……..

 

Volume du cylindre creux : 

3,14  x …5…² x …50….= …3 925….

 

calcul_volume023

 

 

Volume de la bobine en « c m » .

 (2 x ……14 130……… + ………12 560…….) - ……3 925……….= ………36 895 cm 3………..

 


 

 

 

 

 

V )  Situations problèmes sur le cylindre…….

 

 

 

 

 

 

Problème 1 :

Une ligne électrique de  30 km de long est constituée par 3 fils de cuivre de 1cm de diamètre.

Quelle est la masse de ces fils sachant que la masse  volumique du cuivre est de «  9 kg / dm3 »

 

 

 

 

 

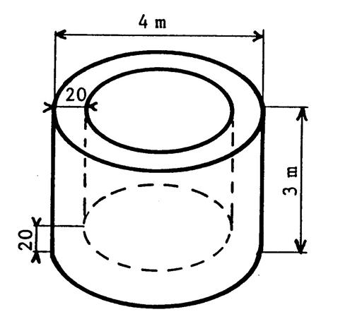
Problème 2 :

Un bassin en ciment à la forme de la figure ci-contre.

L’épaisseur des parois et du fond est de 20 cm.

Calculez le volume de la maçonnerie ?

 

(Cela revient à rechercher la quantité de matière ciment plus sable ..)

 

 

calcul_volume025

 

 

 

 

 

Problème 3 :

Une borne est constituée par un parallélépipède rectangle surmonté d’un demi-cylindre.

 

Les dimensions de la figure ci-contre  sont en « cm ».

Calculez le volume de la borne..

 

calcul_volume024

 

 

 

 

 

Problème 4 :

Le dessin ci-contre représente un flacon cylindrique en verre vu en coupe ..

 

Les dimensions sont en « mm »..

L’épaisseur du verre est de « 5 mm ».

Calculez le volume en verre utilisé pour faire ce flacon.

calcul_volume026

 

 

 

 

 

Problème 5 :

 

Un lingot de cuivre pèse « 84,78 kg » .

)Sachant que la masse volumique du cuivre est d’environ « 9 kg / dm3» quel est le volume de ce lingot ?

2°) Le cuivre étant très ductile , avec ce lingot, on veut fabriquer un fil cylindrique de « 1 mm » de diamètre.

Quelle longueur de fil obtiendra-t-on  ( en km) ?   ( prendre pi = 3,14 )

 

 

 

 


 

 

 

 

 

 

Travaux auto_ formatifs

 

 

 

 

 

CONTROLE :

 

1°) Qu’est ce qu’un  un cylindre de révolution.

2°) Donner ses caractéristiques principales .

 

EVALUATION

 

)Représenter en perspective  un cylindre de révolution.

 

INTERDISCIPLINARITE

 

Construire un cylindre avec un feuille de papier

 

 

 

 

 

 

 

 

 

;